Raumfahrt - Blue Origin LTV: The Ultimate All-Terrain Vehicle?

23.04.2026

New patents for a Lunar Terrain Vehicle shows enclosed, pressurized cab.

nox76bouxfbwnmq4v6uqgqyiri

One of several proposed designs from competing contractors, Blue Origin's patents show initial designs for an enclosed Lunar Terrain Vehicle.Blue Origin

With the recent success of the Artemis II mission, it’s worth remembering their record-breaking adventure didn’t include four wheels. Nobody has ever driven further away from a paved road than the crews of Apollo 15, 16 and 17, who piloted the Boeing-built Lunar Roving Vehicle (LRV) on the surface of the Moon in 1971 and 1972.

Amusing technicalities aside, the Artemis II mission is just the precursor to future moon missions, along with a new patent published showing Blue Origin’s interpretation of a next-generation lunar rover. NASA has long intended to send another rover, called the Lunar Terrain Vehicle (LTV), to the Moon as part of the Artemis project, with the original intention of scheduling the rover as part of the Artemis V mission in around 2030. In 2024 NASA selected three contractors to compete for the LTV contract: Intuitive Machines, Lunar Outpost, and Venturi Astrolab. However, there’s still scope for additional vendors to come forward.

original Lunar Roving Vehicle on the Moon
The original Lunar Roving Vehicle from the 1971 Apollo 15 mission, also called the "Moon Buggy.". Room for two, 970 lb cargo capacity and a top speed of 6 mph. The tires? They were obviously airless, made of a woven mesh of zinc-coated piano wire with titanium treads.NASA / Dave Scott / Public Domain

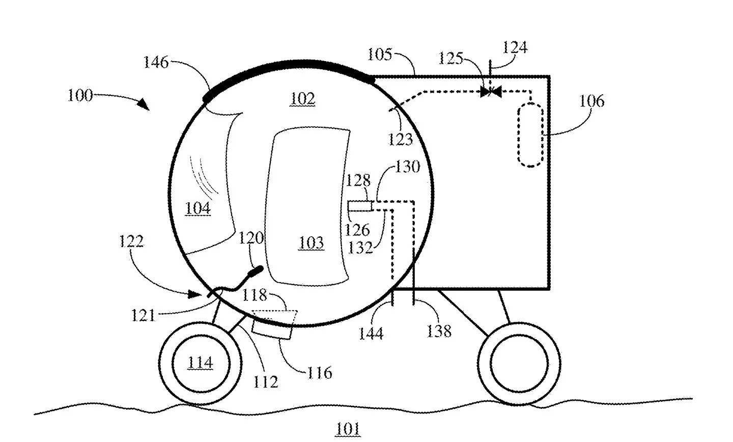
The initial brief, matched by the proposals from the first three contenders, is for an unpressurized rover, not unlike the vehicle used by the Apollo crews half a century ago. The design seen here – which comes from Jeff Bezos’ Blue Origin program – is for a more ambitious, enclosed and pressurized vehicle. That makes it closer in concept to the rovers designed during NASA’s 2008-2015 Space Exploration Vehicle (SEV) project, which resulted in concepts for a pressurized vehicle that would go on to inspire the rover seen in the movie The Martian in 2016.

In Blue Origin’s patent application, the advantage of a pressurized rover becomes clear. Even though the astronauts would still wear spacesuits inside the rover, there would be no pressure difference between the suit and the atmosphere around them in the rover. With an unpressurized rover, the pressure inside the spacesuit is much higher than the vacuum of the lunar surface, making flexibility a problem as the astronauts are essentially inside inflated outfits. By eliminating that pressure difference inside the rover’s cabin, the suits are more like normal clothes, giving increased dexterity for the astronauts. Blue Origin’s patent also points to advantages in reduced wear on the suits themselves, less stress on the astronauts, and improved safety in the event of a punctured suit.

 
Lunar Electric Rover with an enclosed cabin
The Lunar Electric Rover with an enclosed cabin, from the 2008-2015 Space Exploration Vehicle project. Though it never reached space, it still furthered engineering and design advancement.NASA / Bill Ingalls / Public Domain

Blue Origin is already part of the Artemis project, working on a lunar lander in competition with Elon Musk’s SpaceX, but the pressurized lunar rover is likely to be a more distant project connected to NASA’s plan to establish a permanent base on the Moon, which was fleshed out in late March with images that included a rendering of an enclosed rover not unlike the design seen in Blue Origin’s plans.

Enjoy a few bonus images of design concepts.

NASA rendering of a future moon base
A NASA rendering of a future moon base, designed with the use of enclosed, pressurized Lunar Terrain Vehicles in mind.NASA / Public Domain
Astrolab LTV
One of several competing contractors, the Astrolab LTV draws from the initial design brief which specifies a classic, non-enclosed vehicle, similar to the original Lunar Roving Vehicle.Astrolab
Intuitive Machines LTV
One of several competing contractors, the Intuitive Machines LTV also appears to use an open cabin design, similar to the original Lunar Roving Vehicle.Intuitive Machines
Quelle: UTV Driver
40 Views